Parking Aid for 2010 Mercury Milan
No.
Part # / Description / Price
Price
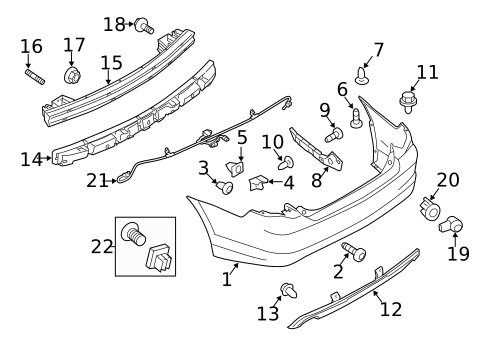
1
Control Module
FORD
FORD Description: Fusion, Milan, MKZ. Park sensors. Reverse sensing components. Reverse sensor. Milan Hybrid. Fusion Hybrid. MKZ Hybrid.
2
Parking Aid System Speaker
FORD
FORD Description: Park sensing system. Reverse sensing system. Reverse sensing components. Park sensors. Reverse sensor. Parking distance control, front. Front parking sensing, parking control aid.
MSRP $25.56
$16.10
MSRP $25.56
$16.10
No.
Part # / Description / Price
Price
No.
Part # / Description / Price
Price
2
Bumper Cover Screw
FORD
FORD Positions: Left
Description: Type 1. 2009-11, sedan, s, se, sel. 2006-09. 2009-11, sedan, ses. 2010-12. 2008. 2009-10, coupe.
MSRP $23.25
$16.28
MSRP $23.25
$16.28
3
Tail Lamp Assembly Nut
FORD
FORD Positions: Right
Description: Outer. 2015-18. Type 1. Hatchback, 2011-13. 2006-09. 2010-12.
MSRP $4.00
$3.00
MSRP $4.00
$3.00
4
Bumper Cover Retainer
FORD
FORD Positions: Left
Description: 2011-12. GT with app pkg, boss, shelby, inner. 2009-12, 3.7L, outer. 2009-12, 3.5L, outer. 2010-12. 2013-19. Bumper cover,retainer. Base, GT without app pkg, inner.
MSRP $16.00
$11.20
MSRP $16.00
$11.20
4
Upper Cover Clip
FORD
FORD Positions: Right
Description: Without trailer tow. 2018-19, covers & brackets. GT with app pkg, boss, shelby, outer. 2009-12, 3.7L, inner. Base, GT without app pkg, outer. 2009-12, 3.5L, inner. 2010-12. GT with app pkg, boss, shelby, inner.
MSRP $16.00
$11.20
MSRP $16.00
$11.20
5
Bumper Cover Retainer Nut
FORD
FORD Positions: Left
Description: With trailer tow. 2018-19, covers & brackets. 2011-12. 2013-16. 2016-17, covers & brackets, with 3.5L turbo. 2009-12, 3.7L. 2010-12. 2009-12, 3.5L. 2013-19. Bumper cover,clip.
MSRP $16.00
$11.20
MSRP $16.00
$11.20
6
Tail Lamp Assembly Screw
FORD
FORD Positions: Left
Description: Quarter panel mounted. 2006-10, no. 2. 2006-09. 2010-12.
MSRP $4.00
$3.00
MSRP $4.00
$3.00
7
Side Support Nut
FORD
FORD Positions: Right
Description: 2013-19. 2009-12. Side support,nut. 2010-12. Sport.
MSRP $4.00
$3.00
MSRP $4.00
$3.00
11
Side Reinforced Rivet
FORD
FORD Positions: Left
Description: 2013-19. 2009-12, 3.7L. 2010-12. With sport.
MSRP $4.00
$3.00
MSRP $4.00
$3.00
16
Impact Bar Stud
Ford
Ford Positions: Right
Description: 2013-19. 2011-12. 2010-12. 2009-12, 3.7L. 2009-12, 3.5L.
MSRP $43.80
$27.38
MSRP $43.80
$27.38
17
Upper Hinge Lock Nut
Ford
Ford Positions: Left
Description: Crew cab. Grand Marquis. Lower hinge,retainer nut. Upper hinge,retainer nut. Lower hinge,lock nut. Upper hinge,lock nut.
MSRP $4.00
$3.00
MSRP $4.00
$3.00
18
MSRP $23.35
$16.35
22
License Bracket Hardware Kit
FORD
FORD Description: License plate. 2013-16, screw kit. 2017-19, screw kit. 2006-09.
MSRP $10.63
$8.93
MSRP $10.63
$8.93



